2. 中国海洋大学海洋环境与生态教育部重点试验室,山东 青岛 266100
四环素类是世界上应用最为广泛的抗生素之一,对多种致病细菌具有广谱抗菌活性,常用于人类治疗和畜牧业疾病控制[1-2]。截至2015年,全世界四环素生产量高达15 000 t,其中70%~80%都来自于中国。发酵法生产四环素排放的废水CODCr含量高、总氮含量高、硫酸盐浓度高、残留四环素浓度高和生物毒性较大,是一类较难降解的高浓度有机废水,不经处理直接排入水体会给环境造成危害[3-5]。
目前,四环素类制药废水的处理多采取生物处理、物理处理和高级氧化处理技术。传统的生物处理技术包括好氧生物处理[6]、厌氧生物处理[7]以及厌氧-好氧生物组合技术[8],虽然成本较低,但很难将废水中高含量的四环素彻底去除,高浓度的硫酸盐也会抑制厌氧菌的活性,同时伴随着抗生素基因的产生与传播,带来更大的环境安全问题[9-10]。常用的物理处理技术有混凝[11]、水解[12]、吸附[13]、膜滤[14]等,对四环素的去除率较高,但只是将四环素进行相转移,并没有完全降解四环素。高级氧化技术主要包括光催化氧化[15]、臭氧氧化[16]、Fenton氧化[17]、电化学氧化[18]等,可对四环素进行高效降解。其中电化学氧化技术较其他氧化技术具有高效、清洁、无二次污染等优点被广泛用于四环素类废水处理中。电化学氧化技术衍生的电活化硫酸盐工艺在处理难降解有机污染物时,利用废水中原有的硫酸盐作为原料,在电流作用下通过阳极的高电位直接将硫酸盐活化为高活性的硫酸根自由基,具有反应条件温和、无投加、便于操作等优点,相比传统电化学氧化法更为高效、绿色、安全,有望实现高效去除难降解四环素类废水。
本研究以掺硼金刚石(BDD)为阳极,不锈钢为阴极构建电化学体系,采用间歇通电模式处理四环素类模拟制药废水。通过单因素实验,确定对TOC去除率影响较为显著的影响因子以及参数范围。采用响应曲面法,研究四个因素以及交互作用对TOC去除率的影响,得出最佳运行参数。在最佳运行参数下,研究间歇通电下该体系对四环素的持续氧化机理,节约能耗,为电活化硫酸盐处理四环素类废水的实际工程应用提供理论参考依据。
1 材料与方法 1.1 实验试剂四环素(CR级,纯度≥99%),购自上海麦克林生化科技有限公司;无水硫酸钠(分析纯),购自国药集团化学试剂有限公司;硅基掺硼金刚石(Boron-doped diamond, BDD)电极,长30 mm,宽20 mm,厚3 mm,购自郑州磨料磨具磨削研究所有限公司;不锈钢(SS, 304)与BDD电极尺寸相同。
1.2 实验用水与装置本实验用水是以盐酸四环素为目标污染物配置的模拟制药废水。将四环素称取溶于超纯水中配制成10 g·L-1的储备液,并避光保存。实验用水量取一定量的储备液,投加一定量的硫酸钠,制成含硫酸盐的四环素模拟废水。具体水质指标如表 1。
|
|
表 1 实验用水的水质指标 Table 1 Water quality index of experimental water |
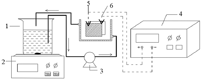
实验装置由电解槽、蠕动泵、直流电源、储水槽、磁力搅拌器组成,装置示意图见图 1。电解槽采用有机玻璃加工制成,其尺寸为长×宽×高为60 mm×50 mm×60 mm,有效容积为32 mL。采用不锈钢为阴极,BDD作为阳极,电极尺寸为40 mm×60 mm×2 mm,实际工作尺寸为40 mm×40 mm。电解过程采用间歇通电的模式运行;使用蠕动泵使废水在储水池与电解槽中循环流动;为保证整个循环过程中水质均匀,在储水池下面安置磁力搅拌器进行充分搅拌。
|
(1-储水槽Water storage tank;2-磁力搅拌器Magnetic stirrer;3-蠕动泵Peristaltic pump;4-直流电源DC power supply;5-BDD阳极BDD anode;6-不锈钢阴极Stainless steel cathode.) 图 1 电化学反应装置示意图 Fig. 1 Schematic diagram of electrochemical degradation device |
通过前期单因素实验选定对降解效能产生影响的4个独立变量及其3个因子水平,响应值为TOC去除率。
1.3.2 模型的建立| $ Y=\beta_{0}+\sum\limits_{i=1}^{k} \beta_{i} X_{i}+\sum\limits_{i=1}^{k} \beta_{i i} X_{i}^{2}+\sum\limits_{i, j=1(i=j)}^{k} \beta_{i j} X_{i} X_{j}+\varepsilon。$ | (1) |
式中:Y为模型响应值;β0为常数项;Xi为因素自变量;βi为因素i的一次交互作用项的回归系数;βii为因素i的二次交互作用项回归系数;βij为因素i和j之间的一次交互作用项的回归系数;ε为误差。
1.4 分析检测方法 1.4.1 主要分析指标的测定四环素使用仪器L5紫外分光光度计,采用浊点萃取分光光度法进行测定[19]。向样品中依次加入1×10-3 的Nd(Ⅲ) 5.0 mL、0.8 mL 2 mol·L-1 NaOH、pH为8.5的Clark-Lubs缓冲溶液1 mL,用超纯水稀释至50 mL,摇匀。同时做试剂空白。用1 cm微量比色皿于400 nm处,以试剂空白为参比,测其吸光度。
水样TOC使用燃烧氧化-非分散红外吸收法测定,采用仪器日本岛津TOC总有机碳分析仪;过硫酸盐(S2O82-)的测定使用硫氰酸铵显色法[33],采用仪器L5紫外分光光度计;模拟染料废水pH使用玻璃电极法测定,仪器型号为PHS-2F。
实验设计与实验结果使用Design-Expert 8.0软件分析。
1.4.2 自由基检测为了确定电化学氧化过程的反应活性种,使用电子自旋共振(Electron spin resonance,ESR)光谱仪检测电活化过程中产生的自由基(比如硫酸根自由基和羟基自由基)[34]。捕获剂选用5, 5-二甲基-1-吡咯啉-N-氧化物(Dimethyl pyridine N-oxide,DMPO)。电化学氧化120 min时,向反应器间注入DMPO并立即关闭电源,迅速取样进行检测。
2 结果与讨论 2.1 单因素试验 2.1.1 电流密度对四环素去除率的影响如图 2所示,电流密度对四环素去除率具有显著影响。在各个电流密度下,随着电解时间的延长,四环素去除率呈现一直增加的趋势;同时四环素的去除率也随着电流密度的增大而显著增加,如电流密度为100和120 mA·cm-2时,在实验测定允许的误差内180 min时四环素基本上被完全分解,而在20 mA·cm-2、180 min时四环素的去除率仅为64.48%。电流密度越大,四环素去除率越高,但能耗也越高,本着能耗较低且能完全去除废水中的四环素,选择100 mA·cm-2作为后续响应曲面设计的参考值。
|
图 2 电流密度对四环素去除率的影响 Fig. 2 Effect of current density on the removal rate of tetracycline |
有研究表明,BDD电极电活化硫酸盐过程中,电极表面生成羟基自由基(·OH)和硫酸根自由基(SO4·-)等两种主要的高活性物质,其中硫酸根自由基较羟基自由基来说,具有更高电位(2.7 V vs 1.8 V),更长的存在时间((3~4)×10-5s vs 2×10-8s)以及更宽的pH适用范围[20]。通过Comninellis模型计算本实验的极限电流密度为28.3 mA·cm-2,而实验选定的电流密度远大于极限电流密度,故整个电化学过程处于传质控制,增大电流密度是无用的,但这与实际实验成果相反[21]。这可能是由于电流密度增大,BDD电极表面产生析氧反应,气泡搅动电极表面的液体,使电极表面产生的高活性物质(例如羟基自由基和硫酸根自由基)与本体液体混合,增大了整个系统的传质效果,加强了对四环素的去除效果。
2.1.2 初始pH值对四环素去除率的影响如图 3所示,弱酸或偏中性均有利于分解四环素。当pH值为1和11时,四环素的去除率分别为96.85%、94.66%(180 min);当pH值为5时,四环素的去除率达到100%(180 min)。反应体系的pH值变化主要对体系中·OH和SO4·-的转化生成有影响。有研究表明,如式(2)和(3),在BDD电极电活化硫酸盐过程中,SO4·-先于·OH生成,即硫酸盐的氧化在水氧化之前;而在弱酸或中性条件下,SO4·-的生成量约为·OH的20倍,且SO4·-在酸性中更占优势[23-24]。故在弱酸或中性条件下,如式(4)、(5),SO4·-大量生成,与·OH相互促进生成,加快了四环素的分解。
| $ \mathrm{BDD}+\mathrm{SO}_{4}^{\cdot-} \rightarrow \mathrm{SO}_{4}^{\cdot-}+\mathrm{H}_{3} \mathrm{O}^{+}+\mathrm{e}^{-}, $ | (2) |
| $ \mathrm{BDD}+\mathrm{H}_{2} \mathrm{O} \rightarrow \mathrm{BDD} \equiv \cdot \mathrm{OH}+\mathrm{H}_{3} \mathrm{O}^{+}+\mathrm{e}^{-}, $ | (3) |
| $ \mathrm{BDD} \equiv \cdot \mathrm{OH}+\mathrm{SO}_{4}^{2-} \rightarrow \mathrm{SO}_{4}^{-}+\mathrm{BDD}+\mathrm{OH}^{-}, $ | (4) |
| $ \mathrm{SO}_{4}^{\cdot-}+\mathrm{H}_{2} \mathrm{O} \rightarrow \mathrm{SO}_{4}^{2-}+\cdot \mathrm{OH}+\mathrm{H}^{+}。$ | (5) |
|
图 3 初始pH值对四环素去除率的影响 Fig. 3 Effect of initial pH on the removal rate of tetracycline |
如图 4所示,初始四环素浓度对四环素去除率具有较小影响。整体来看,四环素初始浓度越低,四环素的去除率越高。当四环素初始浓度为600~1 000 mg·L-1时,180 min内四环素可以被完全去除;而当浓度为1 200~1 500 mg·L-1时,四环素的去除率随着时间呈现下降趋势。这是因为随着四环素浓度升高,溶液中传质速度减慢,单位时间内所分解掉的四环素减少。四环素浓度越高,完全去除四环素所需的时间越长,故所需的能耗越高,本着能耗较低且能完全去除废水中的四环素,选择1 000 mg·L-1作为后续响应曲面设计的参考值。
|
图 4 初始四环素浓度对四环素去除率的影响 Fig. 4 Effect of initial tetracycline concentration on the removal rate of tetracycline |
如图 5所示,硫酸盐浓度对四环素去除率具有显著影响。整体上看,在120 min内,随着硫酸盐浓度的增大,四环素去除率升高。当硫酸盐浓度为0.2~0.3 mol·L-1时,电解120 min时就能基本上实现四环素的完全去除。这可能是因为BDD电活化硫酸盐的过程中,硫酸根被转化为SO4·-后,经过一系列的反应又会重新转化为硫酸根(如式(3)、(4)所示),随着电解的进行,这是一个循环往复的过程[21]。此外,增大硫酸盐电解质浓度,提高四环素去除能力的同时,还能增大反应体系的电导率,使得能耗降低。本着投加少且能完全去除废水中的四环素,选择0.2 mol·L-1作为后续响应曲面设计的参考值。
|
图 5 硫酸盐浓度对四环素去除率的影响 Fig. 5 Effect of sulfate concentration on the removal rate of tetracycline |
基于上述单因素实验,确定了影响因子以及参数范围。运用Design Expert 8.1软件,采用Box-Behnken设计方案,以初始pH值、电流密度、硫酸盐浓度、初始四环素浓度为自变量,分别依次对应A、B、C、D,TOC去除率为响应值,并以-1,0,+1代表因素的3个水平。自变量编码以及水平见表 2。
|
|
表 2 Box-Behnken实验设计影响因子编码及水平 Table 2 Box-Behnken experimental design impact factor coding and level |
Box-Behnken实验方案与结果见表 3。
|
|
表 3 Box-Behnken实验方案与结果 Table 3 Box-Behnken experiment scheme and results |
采用ANOVN进行方差分析,分析结果见表 4。模型F值为460.35,P < 0.000 1(< 0.01),证明该模型是极显著的,具有统计学意义。失拟项为0.188 9(>0.05),证明该模型不显著,拟合度较高,具有良好的可预测性[26]。模型的相关系数R2为0.997 8,信噪比68.714(>4),证明该模型具有很好的拟合精度[12]。
|
|
表 4 TOC去除率回归方程方差分析 Table 4 TOC removal rate regression equation variance analysis |
如表 3所示,根据P值,初始pH值(A)、电流密度(B)、硫酸盐浓度(C)和初始四环素浓度(D)的P值(<0.000 1)均小于0.01,对TOC去除率具有极显著的影响。根据F值,四个因素对TOC去除率的影响大小次序为:电流密度(B)>硫酸盐浓度(C)>初始四环素浓度(D)>初始pH值(A)。四个因素间的交互作用也对TOC去除率具有显著影响。通过上述显著影响分析,剔除掉不显著因素,TOC去除率模型的二次多项式可归纳如下:
| $ \begin{gathered} \mathrm{Y}=84.98+0.52 \mathrm{~A}+5.12 \mathrm{~B}+3.07 \mathrm{C}-0.60 \mathrm{D}+ \\ 0.38 \mathrm{AB}+1.63 \mathrm{AC}+0.78 \mathrm{AD}-2.83 \mathrm{BD}+0.41 \mathrm{CD} 。\end{gathered} $ |
图 6的(a)、(b)显示了在初始pH值(A)和硫酸盐浓度(C)取中心值(1 000和0.2 mol·L-1)时,不同四环素初始浓度(D)和电流密度(B)对TOC去除率的影响。三维曲面呈凸性[27],等高线整齐性较差且中心呈椭圆形[28],同时P<0.000 1,证明两个因素的交互作用对TOC去除率影响极为显著。图 6(a)显示,固定四环素初始浓度随着电流密度的增大,TOC去除率是递增的;而固定电流密度,TOC去除随着四环素初始浓度增大而降低。同时从图 6(b)的等高线看出,左下方等高线稀疏,右上方等高线密集,说明较四环素初始浓度,电流密度对四环素去除率的影响较为显著。正如2.1.1节中分析,电流密度增大,提高了整个系统的传质效果。但在最佳条件下,TOC最大去除率(85.02%)小于四环素最大去除率(99.13%),说明系统对于四环素的氧化分解以及完全矿化是同步进行的。
|
图 6 两因素交互作用对TOC去除率影响的三维曲面和等高线图 Fig. 6 Three-dimensional surface and contour map of the influence of two factors on the TOC removal rate |
同理,图 6的(c)、(d)表明了不同初始pH值(A)和四环素初始浓度(D)的交互作用对TOC去除率具有显著影响。如2.1.2节分析,pH值会影响硫酸根自由基的产率。见图 6的(c)和(e),分别固定初始pH值和初始四环素浓度,TOC去除率在硫酸盐浓度为0.25 mol·L-1左右达到最大值85.02%。可能的原因是随着硫酸盐电解质浓度的增加,体系电压呈下降趋势(硫酸根浓度为0.1~0.3 mol·L-1时,测得体系初始电压分别约为14,11.5和9.9 V),降低了电流效率,使得阴极上发生的析氧反应几率降低,从而减弱了体系的传质效果[29-31]。这与2.1.4节讨论的硫酸盐浓度对四环素去除率的趋势有差异,是由于体系对四环素分解和完全矿化是同步进行的,但研究证明大部分的高氧化活性物质主要用来完成四环素中间产物的完全矿化[9]。
综上,选定适宜的初始pH值,增大电流密度,降低四环素初始浓度,增加硫酸盐浓度,有利于电活化硫酸盐去除四环素类废水中的TOC,实现高矿化率。
2.2.4 优化参数及验证模型根据BBD模型优化得出最佳运行参数:pH值为5,电流密度为100 mA·cm-2,硫酸盐浓度为0.25 mol·L-1,初始四环素浓度为1 000 mg·L-1时,响应值TOC去除率为86.67%,为了验证预测结果,在此最优条件下,进行3次验证试验,3次实验TOC去除率的平均值为85.13%,与预测值相差1.54%;结果表明,该模型具有良好的预测性。
2.3 间歇通电下的氧化机理在电活化硫酸盐处理四环素类废水中,主要的活性物质有·OH和SO4·-,均能有效降解四环素[22]。为了确认电活化硫酸盐体系中是否产生·OH和SO4·-等高活性物质,采用DMPO捕获自由基后进行ESR检测。图 7是电活化硫酸盐体系的ESR谱图。如图 7所示,在无BDD电极活化的硫酸钠溶液中没有检测到DMPO-·OH加合物、DMPO-SO4·-加合物,即·OH和SO4·-存在。而在电流密度100 mA·cm-2,硫酸盐浓度0.25 mol·L-1条件下,经过BDD电极电活化硫酸盐30 min后,在体系中检测到DMPO-·OH和DMPO-SO4·-加合物的信号,通过对比表明电活化硫酸盐体系生成了·OH和SO4·-。
|
图 7 电活化硫酸盐体系的ESR谱图 Fig. 7 ESR spectrum of electro-activated sulfate system |
通电情况下,体系中生成了·OH、SO4·-以及过硫酸盐(S2O82-)。如图 8所示,在最佳参数条件下,分析通电阶段和断电阶段电化学体系对四环素的可能的降解机理。在每个周期内,通电20 min下,四环素去除率与S2O82-积累量随着时间的增加均升高。四环素的去除主要是由于BDD电极电活化硫酸盐过程中,电极表面生成的·OH和SO4·-等高活性物质[20],能够对四环素进行氧化降解,并在120 min时达到完全降解;S2O82-积累量是由于电极表面产生的硫酸根自由基会迅速二聚化生成S2O82-(如式(6)),以S2O82-的形态在本体溶液中稳定存在[22]。在断电10 min下,四环素去除率与S2O82-积累量随着时间的增加呈现相反的趋势,即四环素去除率升高而S2O82-积累量降低。由此可推测断电阶段四环素的降解与S2O82-有关,可能是由于通电阶段电解的进行,使得体系温度升高(50~60 ℃),断电情况下S2O82-被热活化又转化为SO4·-(见式(7))[22]。还有一种可能性是在弱酸性条件下,四环素在被氧化的同时会产生一些含有醌类或酚类结构的副产物,这些官能团使S2O82-活化为SO4·-(见式(7))[35]。此外,本体溶液中硫酸盐也可能被转化为亚硫酸氢盐,有研究表明,亚硫酸氢盐可将S2O82-活化生成更高氧化性的超氧自由基(O2·-),该自由基具有稳定性且高氧化性,可实现对四环素的高效降解[25]:
| $ \mathrm{SO}_{4}^{\cdot-}+\mathrm{SO}_{4}^{\cdot-} \rightarrow \mathrm{S}_{2} \mathrm{O}_{4}^{2-},$ | (6) |
| $ \mathrm{SO}_{8}^{2-} \rightarrow \mathrm{SO}_{4}^{\cdot-}+\mathrm{SO}_{4}^{\cdot-}。$ | (7) |
|
图 8 间歇通电下四环素的去除率与过硫酸盐积累量 Fig. 8 Removal rate of tetracycline and accumulation of persulfate under intermittent electrification |
(1) 通过单因素实验,确定后续响应曲面的参数取值范围。四因素的中心值确定为初始pH值为5,电流密度为100 mA·cm-2,硫酸盐浓度为0.2 mol·L-1,初始四环素浓度为1 000 mg·L-1。
(2) 通过响应曲面构建的模型显著并具有很好的相关性。模型分析,四个因素对电活化硫酸盐去除四环素类制药废水中四TOC去除率的影响大小次序为:电流密度>初始四环素浓度>初始pH值>硫酸盐浓度;同时,初始pH值和电流密度、初始pH值和初始四环素浓度、初始四环素浓度和硫酸盐浓度、电流密度和硫酸盐浓度以及初始四环素浓度和硫酸盐浓度的交互作用均对TOC去除率具有显著的影响。
(3) 模型预测得出实验的最佳运行参数为pH值为5,电流密度为100 mA·cm-2,硫酸盐浓度为0.25 mol·L-1,初始四环素浓度为1 000 mg·L-1。在最佳条件下,进行实验验证,3次实验TOC去除率的平均值为85.13%,与预测值相差1.54%。结果表明,该模型具有良好的预测性,对未来投入实际工程运用具有理论指导意义。
(4) 间歇通电模式下,电活化硫酸盐体系实现了断电阶段下的持续氧化能力,节省能耗,为未来实际应用节省能耗方面提供理论依据。
| [1] |
张垚, 王静. 水环境抗生素残留及其生态与健康影响[J]. 湖北医药学院学报, 2019, 38(6): 609-614. Zhang Y, Wang J. Antibiotic residues in water environment and their ecological and health effects[J]. Journal of Hubei Medical College, 2019, 38(6): 609-614. ( 0) |
| [2] |
王路光, 朱晓磊, 王靖飞, 等. 环境水体中的残留抗生素及其潜在风险[J]. 工业水处理, 2009, 29(5): 10-14. Wang L G, Zhu X L, Wang J F, et al. Antibiotic residual in environmental water body and its potential risks[J]. Industrial Water Treatment, 2009, 29(5): 10-14. DOI:10.3969/j.issn.1005-829X.2009.05.003 ( 0) |
| [3] |
Gao P P, Mao D Q, Luo Y, et al. Occurrence of sulfonamide and tetracycline-resistant bacteria and resistance genes in aquaculture environment[J]. Water Research, 2012, 46: 2355-2364. DOI:10.1016/j.watres.2012.02.004
( 0) |
| [4] |
Akinbowale O L, Peng H, Barton M D. Diversity of tetracycline resistance genes in bacteria from aquaculture sources in Australia[J]. Journal of Applied Microbiology, 2007, 103(5): 2016-2025. DOI:10.1111/j.1365-2672.2007.03445.x
( 0) |
| [5] |
Xia S Q, Jia R Y, Feng F, et al. Effect of solids retention time on antibiotics removal performance and microbial communities in an A/O-MBR process[J]. Bioresource Technology, 2012, 106: 36-43. DOI:10.1016/j.biortech.2011.11.112
( 0) |
| [6] |
Li D, Yang M, Hu J, et al. Determination and fate of oxytetracycline and related compounds in oxytetracycline production wastewater and the receiving river[J]. Environmental Toxicology and Chemistry, 2008, 27(1): 80-86. DOI:10.1897/07-080.1
( 0) |
| [7] |
邹然, 朱葛夫, 张净瑞, 等. 厌氧折流板反应器处理土霉素废水的潜能和运行特性研究[J]. 环境科学学报, 2014, 11: 2746-2753. Zhou R, Zhu G F, Zhang J R, et al. Stress effects of oxytetracycline on anaerobic baffled reactor[J]. Acta Scientiae Circumstantiae, 2014, 11: 2746-2753. ( 0) |
| [8] |
苏涛, 买文宁, 代吉华, 等. IC-SBR工艺在金霉素生产废水处理中的应用[J]. 工业用水与废水, 2009, 40(2): 81-83. Su T, Mai W N, Dai J H, et al. Application of IC-SBR process in wastewater treatment of chlortetracycline production[J]. Industrial Water and Wastewater, 2009, 40(2): 81-83. ( 0) |
| [9] |
Zhang Q, Ying G, Pan C, et al. Comprehensive evaluation of antibiotics emission and fate in the river basins of China: Source analysis, multimedia modeling, and linkage to bacterial resistance[J]. Environ Sci Technol, 2015, 49(11): 6772-6782. DOI:10.1021/acs.est.5b00729
( 0) |
| [10] |
Dorival-García N, Zafra-Gómez A, Navalón A, et al. Removal and degradation characteristics of quinolone antibiotics in laboratory-scale activated sludge reactors under aerobic, nitrifying and anoxic conditions[J]. Journal of Environmental Management, 2013, 120: 75-83.
( 0) |
| [11] |
Choi K J, Kim S G, Kim S H. Removal of antibiotics by coagulation and granular activated carbon filtration[J]. Journal of Hazardous Materials, 2008, 151(1): 38-43. DOI:10.1016/j.jhazmat.2007.05.059
( 0) |
| [12] |
Yi Q, Gao Y, Zhang H, et al. Establishment of a pretreatment method for tetracycline production wastewater using enhanced hydrolysis[J]. Chemical Engineering Journal, 2016, 300: 139-145. DOI:10.1016/j.cej.2016.04.120
( 0) |
| [13] |
Kim S H, Shon H K, Ngo H H. Adsorption characteristics of antibiotics trimethoprim on powdered and granular activated carbon[J]. Journal of Industrial and Engineering Chemistry, 2010, 16(3): 344-349. DOI:10.1016/j.jiec.2009.09.061
( 0) |
| [14] |
Putra E K, Pranowo R, Sunarso J, et al. Performance of activated carbon and bentonite for adsorption of amoxicillin from wastewater: Mechanisms, isotherms and kinetics[J]. Water Research, 2009, 43(9): 2419-2430. DOI:10.1016/j.watres.2009.02.039
( 0) |
| [15] |
张骥, 汪恂, 朱雷, 等. α-FeOOH/GO复合材料光催化降解四环素的研究[J]. 工业安全与环保, 2018, 44(6): 36-41. Zhang J, Wang X, Zhu L, et al. Photocatalytic degradation of tetracycline by composite α-FeOOH/GO[J]. Industrial Safety and Environmental Protection, 2018, 44(6): 36-41. ( 0) |
| [16] |
Andreoon R, Canteino M, Marotta R, et al. Antibiotic removal from wastewaters the ozonation of amoxicillin[J]. Journal of Hazardous Materials, 2005, 122(3): 243-250. DOI:10.1016/j.jhazmat.2005.03.004
( 0) |
| [17] |
李道荣, 牛振华, 包瑞格, 等. Fenton试剂氧化降解水中的盐酸四环素[J]. 环境工程学报, 2017, 11(4): 2227-2232. Li D R, Niu Z H, Bao R G, et al. Degradation of tetracycline with Fenton reagent in aqueous solution[J]. Chinese Journal of Environmental Engineering, 2017, 11(4): 2227-2232. ( 0) |
| [18] |
谢婷婷. 新型二氧化铅电极电解处理有机废水研究[D]. 上海: 上海应用技术大学, 2017. Xie T T. Study On Electrolytic Treatment of Organic Wastewater with New Lead Dioxide Electrode[D]. Shanghai: Shanghai University of Applied Technology, 2017. ( 0) |
| [19] |
王金秀, 任兰正, 吴霖生, 等. 浊点萃取分光光度法测定水中的四环素类抗生素[J]. 光谱实验室, 2012, 29(6): 3917-3921. Wang J X, Ren L Z, Wu L S, et al. Determination of tetracycline antibiotics in water by spectrophotometry with cloud point extraction[J]. Chinese Journal of Spectroscopy Laboratory, 2012, 29(6): 3917-3921. DOI:10.3969/j.issn.1004-8138.2012.06.145 ( 0) |
| [20] |
Borghi A A, Palma M S A. Tetracycline: Production, waste treatment and environmental impact assessment[J]. Braz J Pharm Sci, 2014, 50(1): 25-40. DOI:10.1590/S1984-82502011000100003
( 0) |
| [21] |
Zhang C, Zhang Z, He Z, et al. New insights into the relationship between anode material, supporting electrolyte and applied current density in anodic oxidation processes[J]. Electrochimica Acta, 2017, 229: 55-64. DOI:10.1016/j.electacta.2017.01.134
( 0) |
| [22] |
Cai J, Niu T, Shi P, et al. Boron-Doped Diamond for Hydroxyl Radical and Sulfate Radical Anion Electrogeneration, Transformation, and Voltage-Free Sustainable Oxidation[C]. Small, GERMANY: Wiley-VCH Verlag, 2019, 15(48): 1900153.
( 0) |
| [23] |
Davis J, Baygents J C, Farrell J. Understanding persulfate production at boron doped diamond film anodes[J]. Electrochimica Acta, 2014, 150: 68-74. DOI:10.1016/j.electacta.2014.10.104
( 0) |
| [24] |
Liu Y, Fan X, Quan X, et al. Enhanced perfluorooctanoic acid degradation by electrochemical activation of sulfate solution on B/N codoped diamond[J]. Environ Sci Technol, 2019, 53(9): 5195-5201. DOI:10.1021/acs.est.8b06130
( 0) |
| [25] |
Wang J, Wang C, Guo H, et al. Crucial roles of oxygen and superoxide radical in bisulfite-activated persulfate oxidation of bisphenol AF: Mechanisms, kinetics and DFT studies[J]. Journal of Hazardous Materials, 2020[2020-12-25], https://www.sciencedirect.com/science/article/pii/S0304389420302168.
( 0) |
| [26] |
陈佩佩, 张弘, 郑华, 等. UV-Fenton氧化法深度处理紫胶洗色废水[J]. 工业水处理, 2017, 37(3): 41-46. Chen P P, Zhang H, Zheng H, et al. Advanced treatment of lac washing wastewater by UV-Fenton oxidation process[J]. Industrial Water Treatment, 2017, 37(3): 41-46. ( 0) |
| [27] |
Das S, Mishra S. Box-Behnken statistical design to optimize preparation of activated carbon from Limonia acidissima shell with desirability approach[J]. Journal of Environmental Chemical Engineering, 2017, 5(1): 588-600.
( 0) |
| [28] |
Akkaya G K, Erkan H S, Sekman E, et al. Modeling and optimizing Fenton and electro-Fenton processes for dairy wastewater treatment using response surface methodology[J]. Int J Environ Sci Te, 2019, 16(5): 2343-2358.
( 0) |
| [29] |
唐聪, 陈泉源, 吕璠璠, 等. 三维电极电Fenton氧化法处理染料废水[J]. 化工环保, 2019, 39(1): 28-33. Tang C, Chen Q Y, Lu F F, et al. Treatment of dye wastewater by electro-Fenton oxidation process with three-dimensional electrode[J]. Environmental Protection of Chemical Industry, 2019, 39(1): 28-33. ( 0) |
| [30] |
张东生, 肖书虎, 宋永会, 等. 光电化学氧化法处理黄连素废水优化与分析[J]. 环境工程技术学报, 2013, 3(5): 378-385. Zhang D S, Xiao S H, Song Y H, et al. Optimization and analysis of photoelectrochemical treatment of berberine wastewater[J]. Journal of Environmental Engineering Technology, 2013, 3(5): 378-385. ( 0) |
| [31] |
沈浩, 樊金红, 马鲁铭. 低浓度NaCl溶液Ti/Pt阳极电解制备活性氯[J]. 电化学, 2009, 15(2): 220-223. Shen H, Fan J H, Ma L M. Investigation on electrogenerated active Chlorine from diluted NaCl solutions at Ti/Pt Anode[J]. Journal of Electrochemistry, 2009, 15(2): 220-223. ( 0) |
| [32] |
Panizza M, Delucchi M, Sirés I. Electrochemical process for the treatment of landfill leachate[J]. J Appl Electrochem, 2010, 40(10): 1721-1727.
( 0) |
| [33] |
Liu Y, Fan X, Quan X, et al. Enhanced perfluorooctanoic acid degradation by electrochemical activation of sulfate solution on B/N codoped diamond[J]. Environmental Science & Technology, 2019, 53(9): 5195.
( 0) |
| [34] |
Zhang Y, Gao X, Smith K, et al. Integrating water quality and operation into prediction of water production in drinking water treatment plants by genetic algorithm enhanced artificial neural network[J]. Water Research, 2019, 164(1): 114888.
( 0) |
| [35] |
Fang G D, Gao J, Dionysiou D D, et al. Activation of persulfate by quinones: Free radical reactions and implication for the degradation of PCBs[J]. Environmental Science & Technology, 2013, 47(9): 4605-4611.
( 0) |
2. The Key Laboratory of Marine Environment and Ecology, Ministry of Education, Ocean University of China, Qingdao 266100, China
2022, Vol. 52



0)