长期以来,我国的农药生产和消费能力居世界前列,但由于使用技术的落后导致我国农药利用率较低[1-2],70%~80%的农药流失到土壤或飘失到环境中[3],不仅浪费了资源,还污染了环境。农药喷施过程中的蒸发现象是影响农药利用率的因素之一,经测试统计及模拟计算,水基农药在喷洒过程中,由于蒸发导致的药剂损耗占总喷射量的1.5%~16.8%[4],因此选用具有抗蒸发性能的喷雾助剂是减少蒸发、提高防治效果的主要方法之一。
目前的农药喷雾助剂包括植物油、矿物油、有机硅和表面活性剂4大类几百个品种[5-6],通过改变药液的理化性质,以实现对液滴的铺展、润湿、渗透、蒸发行为的改善。近年来,关于助剂溶液的蒸发研究主要集中在药液在植物叶片上的铺展、蒸发行为[7-14],但由于研究方法所限,针对空间运行阶段的雾滴蒸发研究还很欠缺。助剂的加入会对空间农药雾滴飘失产生重要影响[15],对防飘减飘具有重要意义。
通过田间实验检测农药空间运行中的蒸发情况是获得不同工况下农药保留率最直接的方法,然而,虽有学者利用雨量计[16]、电导率法[4]等进行了积极尝试,但由于操作手段、地理位置、气候条件的不同导致结果有较大误差,目前尚未有一套完善准确的雾滴群蒸发量测试方法。单雾滴是雾滴群的基本组成元素,通过搭建实验平台人为模拟田间施药条件,明晰农药喷雾中单个雾滴的蒸发特性,是研究雾滴群蒸发过程的基础和前提[17-18]。高赛超[19]和周晓欣[20]借助视频光学接触角测量仪对含有助剂的单个雾滴进行了研究,得到25和33 ℃下雾滴体积与时间的定量关系,发现油类和部分非离子表面活性剂具有一定的蒸发抑制能力,且在不同温度下各助剂的蒸发抑制能力不同,但未明确助剂蒸发抑制能力与环境的关系。综上,现阶段关于助剂添加对药液蒸发规律的影响研究还不够深入和全面,因此,研究含助剂的雾滴蒸发过程,了解助剂对农药蒸发特性的影响规律,对调控农药喷施过程具有重要意义。
本文构建了可控温度和湿度的单雾滴蒸发实验台,人工模拟施药气候,分别选用植物油类助剂倍达通、矿物油类助剂迈道、非离子型表面活性剂Silwet408为研究对象,考察不同环境条件下助剂的蒸发性能,并从蒸发角度提出助剂选择建议,为农业生产提供指导。
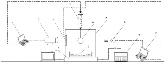
2 实验装置与方法 2.1 实验流程实验装置如图 1所示,主要由蒸发腔室,注射系统,温度控制系统,湿度控制系统和数据采集系统组成,图中实线连接表示元件间实物直接相连,虚线连接表示元件间存在数据传输。蒸发腔室底部为加热台,腔室内部设计隔槽放置饱和盐溶液以控制湿度[22],侧壁固定温湿度传感器实时监测腔室内温、湿度。腔室尺寸为90 mm×90 mm×40 mm,底部为紫铜材质,其余面为高透明亚克力,腔室顶部留直径1 mm的小孔以供针头进入。液滴注射和蒸发过程的数据采集借助接触角测量仪的电子注射单元和拍摄系统完成,使用精密注射器生成0.2 μL雾滴,并保持液滴悬挂于针头上。由于选用的农药助剂能明显降低液体表面张力,实验前需对针头进行超疏水化处理[22],防止蒸发过程中发生“包针”现象,影响后续分析。
|
图 1 单雾滴蒸发实验平台示意图 Fig.1 Schematic diagram of the single droplet evaporation setup 1. computer 2. temperature controller 3. CCD 4. temperature and humidity sensor 5. injection unit 6. droplet 7. evaporation chamber 8. light source 9. circulating water 10. computer 11. humidity control (saturated salt solution) |
本实验模拟田间施药条件,控制操作温度θ=20~35 ℃,相对湿度RH=11%~76%,保持溶液与环境温度一致,忽略气液温差对蒸发的影响。实验过程中使用的助剂、饱和盐溶液及超疏水溶液原料列于表 1,实验涉及的仪器与设备明细列于表 2。
|
|
表 1 试剂及药品 Table 1 List of experimental reagents |
|
|
表 2 实验仪器明细 Table 2 List of experimental instruments |
表 1中助剂的使用浓度来自本课题合作单位提供的使用指导或说明书,在实验过程中,分别取用建议使用浓度的上下限。
2.2 液滴图像处理方法运用Matlab图像处理技术,对实验图像进行批量处理,得到每一时刻的雾滴直径。首先批量读取图片,将图像进行灰度和二值化处理,提取挂丝及雾滴外轮廓,然后以挂丝直径为标尺,重新标定雾滴的初始直径,最后对每张图片进行处理得到各时刻雾滴直径。
2.3 实验分析方法雾滴在空间中蒸发遵循经典的D2定律,即雾滴蒸发过程中直径的平方随时间呈线性变化,为消除雾滴初始直径不同对蒸发特性的影响,对直径和蒸发时间进行归一化处理,表达式如下:
| $ \frac{D_{t}^{2}}{D_{0}^{2}}=1-\frac{K t}{D_{0}^{2}} $ | (1) |
式(1)为雾滴直径变化量的平方与时间的归一化方程,通过最小二乘法拟合得到的斜率K即为蒸发速率。同一条件下进行3次重复实验,并对得到的K取平均值,将平均后的蒸发速率K作为衡量各条件下待测液体蒸发能力的依据。
3 结果与讨论 3.1 助剂对蒸发的影响规律及机理讨论图 2为温度θ = 30 ℃、相对湿度RH=36%条件下,纯水和不同助剂参与下的雾滴蒸发过程中归一化直径(D2/D02)与标准化蒸发时间(t/D0-2)的对应关系。各类溶液雾滴在蒸发过程中(D2/D02)均呈下降趋势,遵循D2定律。通过雾滴蒸发特性曲线(图 2)和实时监控情况(表 3)可以看出,所添加的3种助剂均能够降低雾滴的蒸发速率,延缓蒸发过程。
|
图 2 θ =30 ℃、RH=36%时不同溶液的蒸发特性曲线 Fig.2 Evaporation characteristics of different solutions under θ =30℃, RH=36% |
|
|
表 3 θ=30 ℃,RH=36%时不同溶液雾滴的尺寸变化 Table 3 Droplet sizes of different solutions under θ=30 ℃, RH=36% |
蒸发是当液体温度低于沸点时,液相中的水分子逃逸至气相中的过程。表面活性剂分子具有一端亲水,另一端亲油的特性,加入水中后会自发地聚集在气液界面处,定向排列成分子膜结构[23]。油类助剂为天然油类成分(植物油/矿物油)与乳化剂混合制得,加入水后形成的微油滴也具有两亲性,同样会在界面处形成膜状结构,如图 3所示,气液界面处的分子膜能阻碍水分子从液相向汽相逃逸,从而抑制蒸发。
|
图 3 光学显微镜下(400倍)助剂溶液界面处的膜状结构 Fig.3 Membrane structure at the interface of the adjuvant under an optical microscope (400×) |
图 4为25 ℃时,纯水及助剂溶液在不同相对湿度条件下的蒸发速率。可以看出,蒸发速率随相对湿度增大而降低,且各条件下助剂溶液的蒸发速率均小于水,助剂溶液与纯水在蒸发速率的差值ΔK直观反映助剂的蒸发抑制能力强弱。相同温度条件下,随相对湿度增大,助剂溶液与水蒸发速率之差逐渐减小,蒸发抑制能力不断减弱。这是由于低湿环境下蒸发的驱动力大,从液相向气相逃逸的水分子数量多,此时界面膜对蒸发的阻力起主导作用,助剂溶液与水蒸发速率的差异较大。而高湿环境会明显减弱各类液体的蒸发速率,界面膜的阻碍作用无法显现。
|
图 4 不同相对湿度下助剂溶液的蒸发速率 Fig.4 Evaporation rates of the adjuvants under different relative humidities |
环境温度也是影响蒸发特性的主要因素。综合我国中部地区的气候特征,图 5考察了相对湿度为59%条件下助剂蒸发速率随温度的变化趋势。可以看出,各类溶液的蒸发速率均随温度升高而升高,同时,相同湿度环境下,助剂的蒸发抑制能力随温度先增大后减小。造成上述现象的主要原因是界面膜蒸发抑制作用以及升温对水蒸发促进作用的竞争机制。具体而言,阻碍水分子蒸发的界面膜结构具有一定能量壁垒,大部分水分子受分子间引力的束缚,具有的动能不足以跨越能量壁垒。随着温度的升高,水分子热运动加剧,更多的水分子挣脱束缚逃逸至气相中,因此纯水的蒸发速率随环境温度的升高而增大。助剂的添加使气液界面形成了界面膜结构,抑制了水分子的蒸发。水分子的剧烈运动和界面膜的阻碍作用相互制约,因此,必然存在一个临界温度,使得在该温度条件下助剂对蒸发的抑制能力达到最大。从图 5可以看出,对迈道和倍达通2种助剂溶液来说,临界温度为30 ℃,对助剂Silwet408而言,临界温度为28 ℃。当温度低于临界温度时,升高温度,界面膜的阻碍作用越发突显,蒸发抑制能力逐渐增强。而当温度高于临界温度时,升高温度在促进水分子热运动的同时也降低了界面膜对蒸发的阻碍作用。即在临界温度时,各助剂达到最佳的蒸发抑制效果,此时1.0%和1.5%倍达通蒸发速率分别为纯水蒸发速率的69.6%和66.5%。0.2%和0.3%迈道的蒸发速率为纯水的72.3%和70.6%,Silwet408的蒸发抑制能力稍弱,其蒸发速率为纯水的80.3%和81.6%。
|
图 5 不同环境温度下助剂溶液的蒸发速 Fig.5 Evaporation rates of the adjuvants under different ambient temperature |
此外,由于高浓度助剂溶液形成的界面膜阻力更大,理论上其蒸发抑制能力应优于低浓度助剂,但由图 5可知,20~30 ℃条件下高浓度Silwet408溶液的蒸发抑制能力略强,高于30 ℃时则是低浓度Silwet408蒸发抑制能力较强。如表 4所示,由于Silwet408溶液的表面张力与其他助剂溶液相比较低,分子间束缚作用弱,实验操作过程中液体经抽吸、喷射后易形成气泡。图 6为3种助剂溶液在显微镜下放大400倍后的液滴内部图像,由图可知,迈道、倍达通2种油类助剂溶液内部分布很多小油滴,而Silwet408助剂内除油滴外,还分布大量微气泡(图 6中红色圈出的外部轮廓为黑色,内部有亮点的结构为微气泡)。受气-液界面处表面能的束缚,气泡无法维持稳定状态,会随着时间的推移不断运动并发生塌缩或破裂。气泡破裂会导致雾滴体积减小,而这部分体积减小量也被算做因蒸发而减小的体积内,造成表观上的“蒸发速率加快”。此外气泡的存在提供了额外的气液接触面,能增大蒸发面积,进一步加快蒸发速率。增大Silwet408的浓度可以降低液体表面张力,加强液体的起泡性[24-26],从而促进蒸发。同时,高浓度的Silwet408意味着更大的界面膜阻力。界面膜对传质的阻碍作用与气泡对传质的促进作用共同影响液滴的蒸发,在较低温度条件下,气泡对传质的促进起主要作用,而高温条件下,界面膜的阻力作用占主导地位。
|
|
表 4 3种助剂的表面张力 Table 4 Surface tensions of the three adjuvants |
|
图 6 光学显微镜下助剂溶液内部形貌 Fig.6 Internal morphology of the adjuvant solutions under an optical microscope |
为进一步讨论实际环境条件下助剂对蒸发特性的影响,文中选取的低温低湿(θ=20 ℃,RH=35%)、中温中湿(θ=25 ℃,RH=62%)、高温低湿(θ=30 ℃,RH=36%)、高温高湿(θ=35 ℃,RH=78%) 4种操作条件分别为5月拉萨,6月大连,6月乌鲁木齐以及8月广州的特征条件。图 7为通过实验得到的4种典型环境条件下各类溶液的蒸发速率。另外,生物最佳粒径理论指出,10 ~100 μm为防治飞行类和叶面爬行类害虫的最佳粒径[27],因此小雾滴的蒸发不容忽视。本文结合上述典型工况条件,以100 μm的雾滴为研究对象,计算雾滴在下落2 s时间内的直径变化。由表 5可见,助剂能有效减缓蒸发,尤其在强蒸发环境下,加入助剂可将雾滴的落地直径增大约20 μm。通过比较可知,各工况条件下,高浓度倍达通均具有最佳的蒸发抑制效果。除倍达通外,温度较低时Silwet408蒸发抑制能力略为明显,温度较高时迈道的蒸发抑制效果较佳。因此从蒸发角度考虑,为减少药液损失,在强蒸发环境下应优先考虑使用植物油类助剂倍达通,在弱蒸发环境中,可结合助剂的协同增效作用等进行综合考量。
|
图 7 典型环境条件下各类溶液的蒸发速率相对大小 Fig.7 Evaporation rates of various solutions under typical environmental conditions |
|
|
表 5 D0=100 μm的雾滴在2 s内的直径变化 Table 5 Diameter variation of droplets within 2s at D0=100 μm |
本文建立了可控温控湿的单雾滴蒸发实验平台,以水和3种农药喷雾助剂为研究对象,考察了水及倍达通、迈道和Silwet408 3种助剂在不同条件下的蒸发速率,并得出如下结论:
(1) 助剂分子通过在气液界面处铺展形成膜状结构来抑制水分子向气相逃逸,从而减小蒸发速率。
(2) 3种助剂的蒸发抑制能力均随温度升高而先升高后降低,随相对湿度升高而降低,随浓度升高而升高。由于Silwet408具有易起泡性,受其内部气泡与界面膜的共同作用,低温条件下低浓度Silwet408蒸发抑制能力略强,而高温条件下高浓度Silwet408蒸发抑制能力更强。
(3) 根据实测数据得到4种典型气象条件下各助剂的蒸发速率,并计算了D0=100 μm雾滴下落过程中的蒸发特性,指出高浓度倍达通在4种环境中始终保持最优的蒸发抑制能力,在本文选取的3种助剂中为最佳选择。
| [1] |
何雄奎. 改变我国植保机械和施药技术严重落后的现状[J]. 农业工程学报, 2004, 20(1): 13-15. HE X K. Improving severe draggling actuality of plant protection machinery and its application techniques[J]. Transactions of the Chinese Society of Agricultural Engineering, 2004, 20(1): 13-15. |
| [2] |
王潇楠.农药雾滴飘移及减飘方法研究[D].北京: 中国农业大学, 2017. WANG X N. Study on spray drift and anti-drift method[D]. Beijing: China Agricultural University, 2017. |
| [3] |
王双双.雾化过程与棉花冠层结构对雾滴沉积的影响[D].北京: 中国农业大学, 2015. WANG S S. Studying the influence of spray atomization process and cotton canopy structure on the droplet depostion[D]. Beijing: China Agricultural University, 2015. |
| [4] |
MCLEAN R K, RANJAN R, KLASSEN G. Spray evaporation losses from sprinkler irrigation systems[J]. Canadian Agricultural Engineering, 2000, 42(1): 1-8. |
| [5] |
CASTRO M J L, OJEDA C, CIRELLI A F. Advances in surfactants for agrochemicals[J]. Environmental Chemistry Letters, 2014, 12(1): 85-95. |
| [6] |
张春华, 张宗俭, 刘宁, 等. 农药喷雾助剂的作用及植物油类喷雾助剂的研究进展[J]. 农药科学与管理, 2012, 33(11): 16-18. ZHANG C H, ZHANG Z J, LIU N, et al. The effects of pesticide spray auxiliaries and the research progress of plant oil spray auxiliaries[J]. Pesticide Science and Administration, 2012, 33(11): 16-18. |
| [7] |
YU Y, ZHU H, FRANTZ J M, et al. Evaporation and coverage area of pesticide droplets on hairy and waxy leaves[J]. Biosystems Engineering, 104(3): 324-334. DOI:10.1016/j.biosystemseng.2009.08.006 |
| [8] |
WAN Q, ZHAO J, LI H, et al. The wetting behavior of three different types of aqueous surfactant solutions on housefly (Musca domestica) surfaces[J]. Pest Management Science, 2019, 76(3): 1085-1093. |
| [9] |
HU X Z, GONG H N, LI Z Y, et al. How does solubilisation of plant waxes into nonionic surfactant micelles affect pesticide release?[J]. Journal of Colloid and Interface Science, 2019, 556: 650-657. DOI:10.1016/j.jcis.2019.08.098 |
| [10] |
XU L, ZHU H, OZKAN H E, et al. Evaporation rate and development of wetted area of water droplets with and without surfactant at different locations on waxy leaf surfaces[J]. Biosystems Engineering, 2010, 106(1): 58-67. DOI:10.1016/j.biosystemseng.2010.02.004 |
| [11] |
XU L, ZHU H, OZKAN H E, et al. Droplet evaporation and spread on waxy and hairy leaves associated with type and concentration of adjuvants[J]. Pest Management Science, 2010, 67(7): 842-851. |
| [12] |
ZHOU Z L, CAO C, CAO L D, et al. Evaporation kinetics of surfactant solution droplets on rice (Oryza sativa) leaves[J]. PLoS One, 2017, 12(5): e0176870. DOI:10.1371/journal.pone.0176870 |
| [13] |
CUNHA J P A R D, LASMAR O, RAMOS A M P, et al. Evaporation time of droplets containing thiamethoxam and adjuvants sprayed on sugarcane leaves[J]. Pesquisa Agropecu á ria Tropical, 2016, 46(1): 1-8. DOI:10.1590/1983-40632016v4638499 |
| [14] |
汪元, 王振国. 基于可视化观测和红外测温技术的微通道中乙醇蒸发气液相界面特性研究[J]. 高校化学工程学报, 2016, 30(2): 318-324. WANG Y, WANG Z G. Research on interfacial characteristics of ethanol evaporation in single microchannels using visualization and infrared thermography[J]. Journal of Chemical Engineering of Chinese Universities, 2016, 30(2): 318-324. |
| [15] |
HILZ E, VERMEER A W P. Spray drift review: The extent to which a formulation can contribute to spray drift reduction[J]. Crop Protection, 2013, 44: 75-83. DOI:10.1016/j.cropro.2012.10.020 |
| [16] |
LORENZINI G. Water droplet dynamics and evaporation in an irrigation spray[J]. Transactions of the ASABE, 2006, 49(2): 545-549. DOI:10.13031/2013.20397 |
| [17] |
HASHIMOTO N, NOMURA H, SUZUKI M, et al. Evaporation characteristics of a palm methyl ester droplet at high ambient temperatures[J]. Fuel, 2015, 143: 202-210. DOI:10.1016/j.fuel.2014.11.057 |
| [18] |
CHEW J H, WOO M W, CHEN X D, et al. Mapping the shrinkage behavior of skim milk droplets during convective drying[J]. Drying Technology, 2015, 33(9): 1101-1113. DOI:10.1080/07373937.2014.985791 |
| [19] |
高赛超.植保无人飞机喷雾助剂评价方法研究与应用[D].北京: 中国农业科学院, 2019. GAO S C. Study on evaluation method and appliation of adujvants for unmanned aerial vehicle spray[D]. Beijing: Chinese Academy of Agricultural Sciences, 2019. |
| [20] |
周晓欣.雾滴蒸发规律的探索及几种航空喷雾助剂的评价[D].沈阳: 沈阳农业大学, 2017. ZHOU X X. Droplet evaporation rule of exploration and evaluation of several aviation spray adjuvants[D]. Shenyang: Shenyang Agricultural University, 2017. |
| [21] |
GREENSPAN L. Humidity fixed points of binary saturated aqueous solutions[J]. Journal of Research of the National Bureau of Standards - A Physics and Chemistry, 1977, 81A: 89-96. DOI:10.6028/jres.081A.011 |
| [22] |
SONG M R, LIU Z H, MA Y J, et al. Reducing the contact time using macro anisotropic superhydrophobic surfaces - effect of parallel wire spacing on the drop impact[J]. Npg Asia Materials, 2017, 9(8): e415. DOI:10.1038/am.2017.122 |
| [23] |
史鹏.表面活性剂界面行为和抗盐性能的理论研究[D].哈尔滨: 哈尔滨理工大学, 2019. SHI P. Theoreotical study on interface behavior and salt resistance of surfactants [D]. Harbin: Harbin University of Science and Technology, 2019. |
| [24] |
PETKOVA R, TCHOLAKOVA S, DENKOV N D. Foaming and foam stability for mixed polymer-surfactant solutions: effects of surfactant type and polymer charge[J]. Langmuir, 2012, 28(11): 4996-5009. DOI:10.1021/la3003096 |
| [25] |
BAI T P, LIU Y Q, LIU J C, et al. A comparison of different surfactants on foam stability in foam sclerotherapy in vitro[J]. Journal of Vascular Surgery, 2019, 69(2): 581-591. DOI:10.1016/j.jvs.2018.02.033 |
| [26] |
王壮壮, 李兆敏, 李松岩. 泡沫封堵性能与界面性质关系研究[J]. 高校化学工程学报, 2016, 30(1): 222-228. WANG Z Z, LI Z M, LI S Y. Investigation of relationship between foam blocking performance and interfacial property[J]. Journal of Chemical Engineering of Chinese Universities, 2016, 30(1): 222-228. |
| [27] |
刘德江.撞击式低速离心雾化机理及雾化器参数优化研究[D].北京: 中国农业科学院, 2017. LIU D J. Research on impinging low-speed centrifugal atomization mechanism and atomizer parameter optimization[D]. Beijing: Chinese Academy of Agricultural Sciences, 2017. |


