2. 中北大学 超重力化工过程山西省重点实验室, 山西 太原 030051
2. Shanxi Province Key Laboratory of Higee-Oriented Chemical Engineering, North University of China, Taiyuan 030051, China
对于聚合[1]、沉淀[2]、结晶[3]等许多液-液快速反应,反应的发生是反应物分子间相互碰撞并重组的过程,是发生在分子水平上的变化过程,反应物料间的混合是否均匀,直接关系到反应的进行、产物的质量以及产品的性质。因此,分子尺度上的混合,即微观混合对于液-液快速反应具有重要意义[4]。目前,主要用于液-液快速反应的反应器有:撞击流反应器[5]、T-型反应器[6]、搅拌釜[7]、Y-型微通道反应器[8]以及一些耦合的新型反应器[9, 10]。其中,撞击流-旋转填料床(impinging stream-rotating packed bed, IS-RPB)作为一种强化液-液快速混合的新型反应器,广泛应于用沉淀、结晶、萃取[11]等方面。
撞击流-旋转填料床由刘有智[12]提出,将撞击流与旋转填料床耦合,具备了两者的优势,其基本原理是两股物料经高速相向撞击,形成初次混合,经撞击混合形成径向并垂直于填料的雾面,撞击雾面沿径向进入旋转填料床内侧,超重力场产生的强大的离心力使得物料在通过填料层的径向和轴向过程中进行二次混合,从而强化微观混合。
但是,在精细化工、纳米材料的制备、药物的制备等方面,许多反应的初始物料比并不是1:1的混合,例如:超细粉体氧化镧的制备、重氮盐水解反应等。采用传统的两根管对撞的IS-RPB达到的混合效果并不理想。杨旷[13]对Side-Tee混合管微观混合性能进行了研究,结果表明随着体积流量比的增加,离集指数急剧增加,不利于微观混合;王琦安[14]对微通道反应器微观混合性能进行了研究,与杨旷的研究结果一致。焦纬洲[15]采用碘化物-碘酸盐平行竞争反应体系对IS-RPB微观混合性能进行了研究,结果表明体积流量比为15时的离集指数是体积流量比为1时的8倍,微观混合效果变差。Johnson[16]对于不等体积流量比下的传统撞击流反应器撞击平面进行了研究,结果表明由于动量不相等,导致撞击面向动量小的一端偏移,发生堵塞喷嘴。Fonte[17]通过PLIF技术对不等流量比下撞击流反应器混合机制进行研究,结果表明流量的不平衡会严重恶化混合质量。Gao[18]对受限的撞击流反应器流场特性进行研究,结果表明撞击驻点对入射速度比非常敏感,入射速度比变化5%会引起x轴至少70%偏移。因此,强化不等体积流量比下的微观混合对液-液快速反应过程具有重大意义。
本文设计了新型的撞击流结构,与旋转填料床相耦合—三喷嘴撞击流-旋转填料床(三喷嘴IS-RPB),结构如图 1和图 2所示,在三喷嘴撞击流结构中,体积比较大的反应物分别等量从对置两加速管进入,避免了撞击平面的偏移和喷嘴的堵塞现象;同时,将大体积反应物分散成两股进入,降低了溶液的局部浓度,从而提高微观混合质量[19]。以其为研究对象,采用碘化物-碘酸盐平行竞争反应体系,分别考察了超重力因子β、入口雷诺数Rein、入口流速uin、三喷嘴撞击流结构中两侧加速管喷嘴间距d1、中间加速管喷嘴到两侧加速管喷嘴的垂直距离d2、体积流量VB、反应物体积流量比VA/VB对离集指数的影响,对其微观混合效果进行了研究,并与传统IS-RPB、三喷嘴IS、RPB进行对比,以期强化不等体积流量比下液-液快速反应微观混合效果。
|
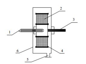
图 1 三喷嘴IS-RPB装置示意图 Fig.1 Scheme of a three impinging stream-rotating packed bed 1. three impinging stream 2. rotating packed bed 3. shaft 4. rotator 5. liquid outlet 6. shell |
|
图 2 三喷嘴结构示意图 Fig.2 The structure of three impinging stream |
采用Villermaux/Dushman(碘化物-碘酸盐反应)平行竞争反应体系研究三喷嘴IS-RPB的微观混合效果[20, 21],包括以下三个反应过程:
| $ {{\rm{H}}_{\rm{2}}}{\rm{BO}}_{\rm{3}}^-+ {{\rm{H}}^{\rm{ + }}} \to {{\rm{H}}_{\rm{3}}}{\rm{B}}{{\rm{O}}_{\rm{3}}} $ | (1) |
| $ 5{{\rm{I}}^-} + {\rm{IO}}_{\rm{3}}^-+ 6{{\rm{H}}^{\rm{ + }}} \to 3{{\rm{I}}_{\rm{2}}} + 3{{\rm{H}}_{\rm{2}}}{\rm{O}} $ | (2) |
| $ {{\rm{I}}_{\rm{2}}} + {{\rm{I}}^-} \to {\rm{I}}_{\rm{3}}^- $ | (3) |
反应(1)为酸碱中和瞬间反应;反应(2)为氧化还原快速反应。反应(1)的反应速率远远大于反应(2)的反应速率。当微观混合均匀时,只有反应(1)发生,此时,所加入的H+完全和H2BO3-反应生成H3BO3,不发生后两个反应,即没有I2和I3-的生成。当微观混合不均匀时,则H+局部的浓度较高,反应(2)将同时发生,生成的I2会继续与溶液中I-发生反应生成I3-。实验中可通过紫外可见光分光光度计在波长353 nm处检测I3-的吸光度,从而得到I3-的浓度,进而计算出生成的I2的浓度,来判断三喷嘴IS-RPB内微观混合的程度[22, 23]。为了描述各状态下混合效果,定义如下的离集指数XS来定量表征微观混合的效果:
| $ {X_\rm{S}} = \frac{Y}{{{Y_{{\mathop{\rm ST}\nolimits} }}}} = \frac{{2{V_{\mathop{\rm A}\nolimits} }\left( {\left[{{{\rm{I}}_{\rm{2}}}} \right] + \left[{{\rm{I}}_{\rm{3}}^-} \right]} \right)}}{{{V_{\mathop{\rm B}\nolimits} }{{\left[{{{\rm{H}}^{\rm{ + }}}} \right]}_{\rm{0}}}}} \times \frac{{6{{\left[{{\rm{IO}}_{\rm{3}}^-} \right]}_{\rm{0}}} + {{\left[{{{\rm{H}}_{\rm{2}}}{\rm{BO}}_{\rm{3}}^-} \right]}_{\rm{0}}}}}{{6{{\left[{{\rm{IO}}_{\rm{3}}^-} \right]}_{\rm{0}}}}} $ | (4) |
式中,Y为反应(2)消耗的H+的量与总H+的量之比;YST为完全离集时的Y值;XS为微观混合效果的离集指数;XS在0~1,当XS=0,表示物料完全混合;当XS=1,表示物料完全离集;当0<XS<1时,物料部分混合。
2.2 实验方法本实验以碘化钾、碘酸钾、硼酸、氢氧化钠、98%浓硫酸、去离子水为基本原料,配制成含H2BO3−、I−、IO3−三种离子和含H+的两种初始反应溶液A和B,溶液中H3BO3、NaOH、KI、KIO3浓度分别为0.18、0.09、0.012、0.0023 mol·L-1。具体配制过程如文献20所述。
三喷嘴IS-RPB中三喷嘴撞击流结构的加速管是由三根直径相同的不锈钢细管构成,直径均为D=10 mm,长度L/D=50以保证溶液在加速管中流动稳定,撞击角度θ=90°,旋转填料床转子内径r1=60 mm,外径r2=120 mm,主要操作参数示意图如图 2所示,实验流程如图 3所示。A溶液储存在储液槽2中,B溶液储存在储液槽3中,A、B溶液通过泵,经过流量计控制,进入三喷嘴IS的加速管中,从喷嘴中喷出后三股流体进行撞击,实现物料首次混合,随后进入旋转填料床进行二次混合,液体从填料中被甩出,在液体出口接样进行检测。
|
图 3 实验流程图 Fig.3 Schematic diagram of experiment setup 1. three impinging stream-rotating packed bed 2. tank of reagent A 3. tank of reagent B 4, 5. pump 6, 7, 8. valve 9, 10, 11. rotameter 12. liquid outlet |
d1=6 mm,d2=3 mm,VA/VB=10时,从图 4中可以看出,XS随着β增加呈现先减小后趋于平缓的趋势。当β < 61时,一方面,随着β增大,撞击后的液体与旋转填料床的相对速度增大,液体进入填料后被高速旋转的填料产生的巨大剪切力切割成液滴、液丝、液膜,使液体微元之间碰撞加剧,强化了微观混合;另一方面,β增大,液体在填料层中的停留时间变短,液体微元间聚并分散频率加快,湍动程度增强,从而有利于分子程度的扩散混合。因此,随着β的增大,XS急剧减小。但是,当β > 61时,随着β增大,XS变化不明显,即微观混合效果不显著。
|
图 4 超重力因子对XS的影响 Fig.4 Effect of β on segregation index |
同时,从图中可以看出,随着[H+]增加,XS增大,微观混合效果变差。由于反应(1)和(2)竞争与H+反应,因此[H+]增大,增加了反应(2)发生的机率,导致离集指数增大。当[H+]=0.1 mol·L-1时,随着β增加,XS下降比较缓慢,即此浓度时三喷嘴IS-RPB的微观混合效果不显著。
3.2 入口雷诺数对离集指数的影响β=61,[H+]=0.16 mol·L-1,d1=6 mm时,从图 5中可以看出,XS随着Rein增加呈现减小后趋于平缓的趋势。以B溶液入口雷诺数Rein为研究对象。当Rein < 3000时,对于撞击流反应器本身来说,一方面,随着Rein增加,uin逐渐增大(如图 6所示),湍动程度增加,能量耗散增加,三股流体撞击后分散成的液滴粒径变小,XS显著减小,微观混合效果极大的提高;另一方面,当Rein较小时,微观混合时间tm大于反应时间tR,反应速率大于混合速率,导致混合不均匀,微观混合效果差;随着Rein增大,tm迅速变小,XS随之减小。将撞击流与旋转填料床耦合,随着Rein增加,uin增大,相同β,撞击后的液体与旋转填料床的相对速度增大,湍动程度加强,同时液体在填料层中的停留时间变短,有利于分子尺度的混合,两者耦合所形成的正效应,共同强化了微观混合。
|
图 5 入口雷诺数对XS的影响 Fig.5 Effect of Rein on segregation index |
|
图 6 入口流速uin对XS的影响 Fig.6 Effect of uin on segregation index |
当Rein > 3000时,随着Rein增大,tm继续减小,tm < tR时,反应在均一环境下进行,由于tR只与温度和反应物浓度有关。因此,XS的变化不显著。
同时,从图中可以看出,随着d增加,XS增大,微观混合效果变差。相同Rein下,根据雷诺数计算公式
β=61,Rein=3000,[H+]=0.16 mol·L-1,d=1 mm,VA/VB=10时,喷嘴间距对XS的影响如图 7所示,随着喷嘴间距d2增加,XS增大。对于相同Rein,随着d2增加,撞击强度减小,混合的湍动程度减小,湍流分散后的最小分子尺度增大,微观混合效果变差。但是,随着d1增加,XS呈现先减小后增大的趋势。同一Rein,当d1 < 6 mm时,随着d1减小,撞击点与喷嘴距离较近,由于入口动量较大,撞击的流体不能及时流出导致喷嘴堵塞,因此微观混合效果较差。当d1 > 6 mm时,随着d1增加,撞击强度减小,混合的湍动程度减小,湍流分散后的最小分子尺度增大,微观混合效果变差。
|
图 7 喷嘴间距d1, d2对XS的影响 Fig.7 Effects of d1, d2 on segregation index |
β=61,[H+]=0.16 mol·L-1,d=1 mm,d1=6 mm,d2=3 mm时,从图 8可以看出,XS随着VB增大而减小。相同d,VB增大,uin增大,撞击强度增大,混合的湍动程度增大,XS减小。
|
图 8 体积流量对XS的影响 Fig.8 Effect of VB on segregation index |
保证反应物摩尔比一定,从图 9中可以看出,XS随着VA/VB增大而增大,微观混合效果变差。当VA/VB < 10时,XS < 0.007,微观混合效果较好。VA/VB越大,1份B溶液和多份A溶液同时接触混合,A溶液局部浓度越大,宏观混合不均匀,反应(2)发生的机率增加,导致混合效果变差,即随着VA/VB增大,宏观混合对于反应器混合性能的作用越来越重要。但是对于三喷嘴IS-RPB来说,当VA/VB > 10,随着体积流量比的增大,XS增加程度逐渐减小。当α=20时,离集指数约为VA/VB=1时的7倍,为VA/VB=10时的3.5倍。当VA/VB=10,与传统IS-RPB、RPB以及三喷嘴IS相比,三喷嘴IS-RPB离集指数较低,仅为0.006,约为传统IS-RPB的1/2,三喷嘴IS的1/3,显示出了其优越的微观混合性能,在不等体积流量比液-液快速反应方面具有很好的应用前景。
|
图 9 四种反应器对比研究 Fig.9 Comparative studies of four types of reactors |
对于不同体积流量比下的每组条件重复进行实验5次,如图 9所示,得到实验结果与平均值相比,误差在±15%范围内。
3.5 Xs和Rein、β、d1、d2、VA/VB的关联通过对实验数据的拟合,得到本文操作条件范围内Xs与Rein、β、d1、d2、VA/VB的关联式如下:
| $ {X_{\rm{S}}} = \left\{ \begin{array}{l} 3166Re_{{\rm{in}}}^{ - 1.29}{\beta ^{ - 1.38}}d_1^{- 0.369}d_2^{0.116}({V_{\rm{A}}}/{V_{\rm{B}}})^{0.616}\;\;\;\;\;\;\;(0 < {d_1} \le 6 {\rm{mm}})\\ 534Re_{{\rm{in}}}^{ - 1.14}{\beta ^{ - 1.11}}d_1^{0.663}d_2^{0.053}({V_{\rm{A}}}/{V_{\rm{B}}})^{0.6}\;\;\;\;\;\;\;(6 {\rm{mm}} < {d_1} \le 15 {\rm{mm}}) \end{array} \right. $ | (5) |
将不同实验条件下的XS与拟合值对比,相关性较好,误差在±15%范围内。因此,拟合得到的关联式可以反映三喷嘴IS-RPB的微观混合效果,从而为三喷嘴IS-RPB的实际设计提供指导意义。
4 结论(1) 当β=22~88时,较大的β使混合效果更好,XS显著减小;对于相同喷嘴直径,Rein < 3000,增大Rein使XS急剧减小;Rein > 3000,增大Rein对XS的影响不明显。
(2) 增大喷嘴间距d1,XS先减小后增大,d1=6 mm时,XS达到最小值;相对于喷嘴间距d1,喷嘴间距d2越小XS越小,微观混合效果越好。
(3) 保证反应物摩尔比一定,XS随着反应物体积流量的增大而减小,但是随着反应物体积流量比的增大显著增大。
(4) 对比四种反应器的微观混合效果,固定其他条件,VA/VB=10时,三喷嘴IS-RPB离集指数仅为0.006,约为传统IS-RPB的1/2,三喷嘴IS的1/3,体现出了不等体积流量比条件下较好的微观混合性能。
(5) 通过对实验数据的回归,得到Xs与Rein、β、d1、d2、VA/VB的关联式,为三喷嘴IS-RPB的实际设计提供指导意义。
符号说明:| [1] | Lapčík J L, Fraštik M, Lapčíková B . Impinging jet study of the deposition of colloidal particles on modified polycarbonate and poly(ethylene terephthalate) surfaces[J]. Int J Heat Mass Transfer , 2012, 55 (5-6) : 1513-1518 DOI:10.1016/j.ijheatmasstransfer.2011.11.002 |
| [2] | Valente I, Celaco E, Marchisio D L . Nanoprecipitation in confined impinging jets mixers:production, characterization and scale-up of pegylated nanospheres and nanocapsules for pharmaceutical use[J]. Chem Eng Sci , 2012, 77 (1) : 217-227 |
| [3] | Kumar D V R, Prasad B L V, Kulkarni A A . Impinging jet micromixer for flow synthesis of nanocrystalline MgO:role of mixing/impingement zone[J]. I & EC Res , 2013, 52 (49) : 17376-17382 |
| [4] | LI Xi(李希), CHEN Jian-feng(陈建峰), CHEN Gan-tang(陈甘棠) . Micromixing-the state of the art(微观混和研究的现状)[J]. Chem React Eng Technol(化学反应工程与工艺) , 1994, 10 (2) : 103-112 |
| [5] | Erni P, Elabbadi A . Free impinging jet microreactors:controlling reactive flows via surface tension and fluid viscoelasticity[J]. Langmuir , 2013, 29 (25) : 7812-7824 DOI:10.1021/la401017z |
| [6] | Liu Z D, Lu Y C, Wang J W . Mixing characterization and scaling-up analysis of asymmetrical T-shaped micromixer:experiment and CFD simulation[J]. Chem Eng J , 2012, 181-182 (1) : 597-606 |
| [7] | Bourne J R, Yu S Y . Investigation of micromixing in stirred tank reactors using parallel reactions[J]. I & EC Res , 1994, 33 (1) : 41-55 |
| [8] | Xia Q F, Zhong S . Liquid mixing enhanced by pulse width modulation in a Y-shaped jet configuration[J]. Fluid Dynamics Res , 2013, 45 (2) : 1-19 |
| [9] | LI You-feng(李友凤), YE Hong-qi(叶红齐), HE Xian-da(何显达) . Study on micromixing characteristics of impinging streams mixers(撞击流混合器微观混合性能的研究)[J]. J Chem Eng of Chinese Univ(高校化学工程学报) , 2012, 26 (1) : 49-55 |
| [10] | SUN Qian(孙倩), CHU Guang-wen(初广文), ZOU Hai-kui(邹海魁) . Micromixing efficiency of an impinging stream-helical tube reactor(撞击流-螺旋盘管反应器微观混合性能研究)[J]. J Chem Eng of Chinese Univ(高校化学工程学报) , 2012, 26 (4) : 558-562 |
| [11] | LIU You-zhi(刘有智), QI Gui-sheng(祁贵生), YANG Li-rui(杨利锐) . Study on the mass transfer characteristics in impinging stream-rotating packed bed extractor(撞击流-旋转填料床萃取器传质性能研究)[J]. Chem Ind and Eng Prog(化工进展) , 2003, 22 (10) : 1108-1111 |
| [12] | LIU You-zhi(刘有智) . Research progress of high gravity technology of IS-RPB to intensify liquid-liquid contact(超重力撞击流-旋转填料床液-液接触过程强化技术的研究进展)[J]. Chem Ind and Eng Prog(化工进展) , 2009, 28 (7) : 1101-1108 |
| [13] | YANG Kuang(杨旷), CHU Guang-wen(初广文), ZOU Hai-kui(邹海魁) . Micromxing efficiency in a side-tee mixer(Side-Tee混合器内微观混合行为研究)[J]. Chem React Eng Technol(化学反应工程与工艺) , 2010, 26 (3) : 198-203 |
| [14] | WANG Qi-an(王琦安), WANG Jie-xin(王洁欣), YU Wen(余文) . An experimental study of the micromixing efficiency in microchannel reactors(微通道反应器微观混合效率的实验研究)[J]. J of Beijing Univ of Chem Technol(Natural Science Edition)(北京化工大学学报(自然科学版)) , 2009, 36 (3) : 1-5 |
| [15] | Jiao W Z, Liu Y Z, Qi G S . A new impinging stream-rotating packed bed reactor for improvement of micromixing iodide and iodate[J]. Chem Eng J , 2010, 157 (1) : 168-173 DOI:10.1016/j.cej.2009.11.032 |
| [16] | Johnson D A . Experimental and numerical examination of confined laminar opposed jets. Part Ⅰ. Momentum imbalance[J]. Heat Mass Transfer , 2000, 27 (4) : 444-453 |
| [17] | Fronte C P, Sultan M A, Santos R J . Flow imbalance and Reynolds number impact on mixing in confined impinging jets[J]. Chem Eng J , 2015, 260 : 316-330 DOI:10.1016/j.cej.2014.08.090 |
| [18] | Gao Z M, Han J, Xu Y D . Particle image velocimetry(PIV) investigation of flow characteristics in confined impinging jet reactors[J]. I & EC Res , 2013, 52 (33) : 11779-11786 |
| [19] | LIU You-zhi(刘有智), JIAO Wei-zhou(焦纬洲), QI Gui-sheng(祁贵生), et al. Three impinging stream structure and three impinging stream-rotating packed bed(三喷嘴撞击流结构以及三喷嘴撞击流-旋转填料床装置):CN, 104226203A[P]. 2014-12-24. |
| [20] | Fournier M C, Falk L, Villermaux J . A new parallel competing reaction system for assessing micromixing efficiency-experimental approach[J]. Chem Eng Sci , 1996, 51 (22) : 5053-5064 DOI:10.1016/0009-2509(96)00270-9 |
| [21] | Guichardon P, Falk L . Characterisation of micromixing efficiency by the iodide-iodate reaction system. Part Ⅰ:experimental procedure[J]. Chem Eng Sci , 2000, 55 (19) : 4233-4243 DOI:10.1016/S0009-2509(00)00068-3 |
| [22] | Shi X, Xiang Y, Wen L X . CFD analysis of flow patterns and micromixing efficiency in a Y-Type microchannel reactor[J]. I & EC Res , 2012, 51 (43) : 13944-13952 |
| [23] | Schaer E, Guichardon P, Falk L . Determination of local energy dissipation rates in impinging jets by a chemical reaction method[J]. Chem Eng J , 1999, 72 (2) : 125-138 DOI:10.1016/S1385-8947(98)00152-1 |


